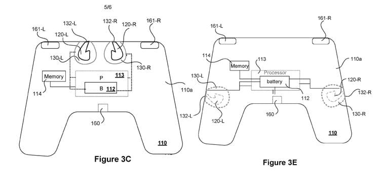
O registro de uma patente feita pela Sony no uspto (Escritório de Patentes e Marcas Registradas dos Estados Unidos) revela planos da companhia para um novo controle sem fio DualSense, com um par de slots para armazenar e carregar fones de ouvido sem fio.

As imagens mostram os slots em diversas posições diferentes, incluindo um abaixo do touchpad, sugerindo que a configuração exata deste novo controle do PlayStation 5 ainda não havia sido finalizada no momento em que a patente foi registrada. (via gamerant)

Há uma semana a empresa anunciou o par de fones de ouvido sem fio, InZone Buds, voltados para games, com recursos de áudio espacial 360, além dos fones de ouvido Pulse Explore, revelados com o PlayStation Portal.

Ainda não se sabe como funcionaria a compatibilidade do controle com os modelos de fones citados, já que eles também terão seus próprios estojos de carregamento e a duração da bateria do DualSense também seria bastante comprometida.

É importante ressaltar que embora a Sony tenha patenteado o novo controle, não significa necessariamente que a empresa esteja trabalhando ativamente nele. É comum empresas registrarem patentes para tecnologias que podem nunca serem comercializadas, apenas para impedir que concorrentes as utilizem.



